电机负载转矩、惯量、运转功率及加速功率的计算方法
1计算折合到电机上的负载转矩的方法如下
1、水平直线运动轴:

2、垂直直线运动轴:

3、旋转轴运动:
与负载转矩不同的是,只通过计算即可得到负载惯量的准确数值。不管是直线运动还是旋转运动,对所有由电机驱动的运动部件的惯量分别计算,并按照规则相加即可得到负载惯量。由以下基本公式就能得到几乎所有情况下的负载惯量:
1、柱体的惯量

2、运动体的惯量

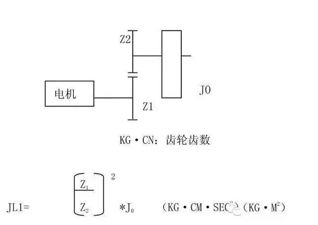
3、 有变速机构时折算到电机轴上的惯量
在电机选用中,除惯量、转矩之外,另一个注意事项即是电机功率计算。一般可按下式求得:

免责声明:文章来源于网络或个人发表,如有侵权请联系删除(13802804900)
1、水平直线运动轴:

2、垂直直线运动轴:

3、旋转轴运动:

与负载转矩不同的是,只通过计算即可得到负载惯量的准确数值。不管是直线运动还是旋转运动,对所有由电机驱动的运动部件的惯量分别计算,并按照规则相加即可得到负载惯量。由以下基本公式就能得到几乎所有情况下的负载惯量:
1、柱体的惯量

2、运动体的惯量

3、 有变速机构时折算到电机轴上的惯量

在电机选用中,除惯量、转矩之外,另一个注意事项即是电机功率计算。一般可按下式求得:

免责声明:文章来源于网络或个人发表,如有侵权请联系删除(13802804900)



